钟表的3D打印技术
当今的社会,炒概念变得很重要。从世纪初的千年虫、多媒体,到如今的云计算、物联网,每个概念刚出炉的时候,都好像有通天彻地的本事,就像瓦特发明的蒸汽机,爱迪生发明的灯泡一样彻底改变我们的生活。看得多了,就会知道,大多数被热炒的概念最后都会变得默默无闻。

又一个热门概念
在钟表行业也是一样,热门的概念总是层出不穷,如硅质擒纵、LIGA 光刻以及3D 打印技术等等。2010 年硅质擒纵的概念刚刚开始升温时,我写过一篇文章,对各大钟表品牌的硅材料技术做了一番梳理。
当时,该技术领域在全球已经形成了超过200 项专利,其中既有劳力士的如万丈高楼平地起的全新硅质擒纵结构;也有将新材质“搬迁”到传统框架中的百达翡丽和宝玑的硅游丝、硅擒纵;还有像Nivarox 这样以制作合金游丝擒纵安身立命的公司研发的适应新潮流的产品。一转眼3 年时间过去了,不仅钟表行业中高精尖的企业仍旧专注于硅的开发,就连天梭这样普罗大众的品牌也用上Silicon Escapement,充分说明这种新材质确实走向了产业化。
而最近又出现了一个比较热门的概念,就是3D 打印。甚至就连专门卖畅销书的机场书店中也有关于3D 打印的专业书籍,摆放在显眼的位置。钟表圈关于3D 打印的消息也是此起彼伏,去年《时尚时间》杂志上发表的“巴塞尔除了手表还有什么”一文中,就展示了多件3D 打印的设备和样品;今年百达翡丽推出的最复杂手表的后续型号6002,也是以3D 打印技术制作的表壳模型。据潘主编介绍说,在参观卡地亚工厂时也亲眼见过3D 打印的应用。如此看来,这个概念已经具备了一定的群众基础,至于它的前途究竟如何,我们就在这里从实证的角度做一番探讨。
何为3D 打印
首先说什么是3D 打印。3D 打印的英文为3D Printing 或者Additive manufacturing,直译的话就是“三维打印”或者“累积制造”,即先在电脑中建立三维模型,再通过逐层打印的方式将可黏合的塑料粉末累积成实物的技术。它看起来很高深,其实就和车、钳、铣、刨、磨这些传统工艺一样,都是机械加工的方式。只不过传统的机械加工是从原始物料上去掉多余的部分,留下所需要的形状,相当于做减法;而3D打印则是直接将粉末状的物料按照我们所需要的形状一层层累积起来,就像小朋友堆积木一样,是在做加法。

之所以将这项技术称为3D 打印,是因为它的设备运行方式与我们办公室中的喷墨打印机有几分相似,都是通过一个能够移动的“墨嘴”,将电脑中的数据打印成实物。二者的区别只在于,一个是在二维的纸张上打印出文字图案,另一个是在三维的空间中直接打印出我们所需要的物体,它每打印一层的厚度为1至100 微米,其中的难易程度可想而知。
3D 打印并不是一项非常新的技术,它的历史可以追溯到上世纪80年代,美国科学家Charles Hull 于1986 年3 月11 日获得的一项通过立体打印制造三维物体的技术专利——US4575330。到了1988 年就有了相关的设备问世。
在过去的相当长的一段时间中,3D 打印技术主要被用于工业设计领域的产品模型制作。众所周之,如果是非常复杂的产品模型,用数控机床制造需要经过很精密的程序设定过程,而3D 打印只需在电脑上画出物体3D模型,再安装上相应的设备就可以打印出实物,而不用在乎这个物体有多少个棱角,有多少个曲面,多少处镂空(空腔),也便于设计师随时进行修改。如百达翡丽6002 的设计过程中,就使用3D 打印技术制作表壳模型。
记得10 年前有一家大型国企要往国外出口洗衣机产品,找到我帮他们作专利规避设计(改为和已有专利不一样的设计,以避免侵权)。
当时这家国企就是先将设计方案送回工厂,通过数控机床做出金属模型,再千里迢迢背到北京。如果能够使用3D 打印技术,就可以随时随地将电脑设计图转化成模型,既节约了制作成本也节约了时间。
而目前3D 打印技术的真正兴起,在于实现了技术上的突破,从最初的只能用塑料粉末进行3D 打印,到如今的金属、橡胶和高科技陶瓷材质。借助最先进的激光烧结技术,厂家可以直接将金属和陶瓷粉末烧结为金属或陶瓷制品,3D 打印也由此从模型打印进化为直接成品的打印。
和传统的机械加工和注塑工艺相比,3D打印的生产模式更为便捷,尤其是对于带有空腔的物体。它适用于小批量但造价高的零件和产品,改写了传统工业的模式。对于只生产几十件的产品,不用再劳师动众地开模具或者请数控机床出马了。
中空表壳的制作
目前全世界关于3D 打印的专利总量已经达到6 万多件,但是将3D 打印直接用于产品的制造,还处在比较边缘的地带,仅限于一些特定的商业模式,比如假肢的制作等等,对于大批量生产是完全不适合的。

而在钟表产业中,依我个人的判断,3D 打印技的发展空间不能说没有,但是适用范围不会太广。目前我检索到的用于钟表产业的3D 打印专利仅有几十件,主是针对两个方面:一是表盘的时标和商标的制作,二是表壳的制造,而且都是处于初级阶段。
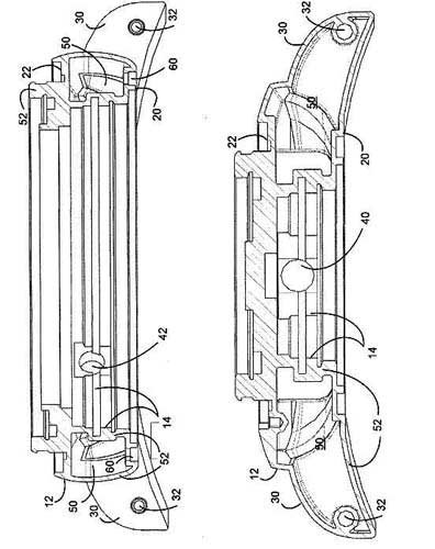
在表壳制造方面,历峰集团于2011 年2 月2 日申请了一项欧洲专利EP2485099,专门用来改善沛纳海手表的表壳。沛纳海是瑞士制表业真工业假制表文化的代表,它的Marketing 做的如同一个神话,国内行货价5 万多能买到的425,二手还能卖到4 万多,保值性超过劳力士。
虽然沛纳海也有复杂款,但是综合各方面的素质,最拿得出手的仍旧是外观设计,包括表壳的形状、材质以及与表盘和表带的细节搭配。沛纳海在业界率先研发3D打印成品表壳的技术,也是充分根据自身的情况:其主力产品的表径为44 毫米,47 毫米款也正在成为热门。如此夸张的尺寸,戴在手腕上固然醒目,但也给佩戴者很大的压力,就像高跟鞋看着很美,但穿着也很累,有人说戴钢带完全就是上刑。因此,如何有效地减轻表壳的重量也就成为了沛纳海的一项必修课。
手表的表壳主要是由表壳框架、玻璃、固定玻璃用的圈口以及安装在框架下方的后盖组成,框架是最核心的部分。所以要减轻重量,首先要从框架下功夫,将它从中间挖空,再将轻便和廉价的材质填充进去。
对于金表来说,不但可以减轻重量,还可以降低用量,节约成本。但这种挖空后再填充的方面对于表壳的结构强度有很大的影响,密封性也存在隐患,并且在生产环节还会遇到黄金粉末的收集再利用等问题。而有了最新的3D打印技术,一切都成为了可能。只要先在电脑里画出一个理想的3D 模型,形成数据集,将空腔内置在这个模型中(附图中的“50”就是内置空腔),再将它逐层打印出来,最后利用激光烧结或电子束融合的方式烧结成型。沛纳海在专利描述中介绍得非常详细:该项技术适用于黄金、铂金、钛、铬乃至陶瓷材质的表壳生产,3D 立体设计采用Solidworks 软件,烧结使用德国EOS 公司的直接金属激光烧结技术(DMLS),设备也是由德国EOS 提供。
技术创新的意义
表盘3D 打印技术的应用以日本的精工和西铁城为代表。为了保证光动能表表盘下的太阳能电池能够充分接收到阳光,同时又不影响美观,厂家在透明的聚碳酸酯表盘之间打印上一层胶水,厚度控制在50至200 微米之间,同时还要在表盘上打印一层金属涂层,制造出三维的视觉效果。未来,3D 打印在表盘制作领域还可能有更加广阔的应用空间,比如高端手表的表盘大都是采用金质的立体时标,先要抛光打磨再以手工固定,费事费力成本高昂,如果能够直接用3D 打印将会更加便捷。

最近一段时间,3D 打印在钟表行业内频频出镜,但是经过仔细观察之后我们不难得出结论,它的主要用途仍旧是在外观设计以及模型的制作上——在巴塞尔表展的设备馆中也能看到不少的案例,至于能否将这项技术产业化,大多业内人士都持反对的观点。因为3D 打印这项技术本身还存在着不少“硬伤”,比如单件产品的制作时间长,造价比较高,无法通过大批量生产降低成本(和传统大批量生产的产品造价相差10 倍以上),表面工艺差,高端产品需要进行二次抛光处理等等。
事实上,在瑞士制表行业内,人们也只是将它当成一项高精尖的技术创新来看待,并不指望其替代传统的生产工艺。瑞士在制表领域可以说独步天下,但是当今的世界,从领先的地位被新技术彻底打败的例子比比皆是,如传统胶片的巨头柯达公司和手机业之前的霸主诺基亚。瑞士制表业也曾遭遇过危机,上世纪70年代爆发的石英风暴,让瑞士人为不重视新技术付出了惨痛的代价,也吸取了足够多的教训。时至今日,瑞士制表行业就像是一块海绵,总是率先将各种先进技术应用到自己擅长的领域,不仅是3D 打印,还有微纳制造,LIGA 光刻技术等等。不断追求技术的创新,不放过任何将新技术产业化的可能,这一点恰恰是我们中国制造业需要学习的地方。
版权声明
1、凡本网注明“来源:
” 的作品,版权均属于
,未经本网授权,任何单位及个人不得转载、摘编或以其它方式使用。已经本网授权使用作品的,应在授权范围内使用,并注明“来源:
”。违反上述声明者,本网将追究其相关法律责任。
2、凡本网注明 “来源:XXX(非
)” 的作品,均转载自其它媒体,转载目的在于信息之传播,并不代表本网赞同其观点和对其真实性负责。
3、如因作品内容、版权和其它问题需要同本网联系的,请于转载之日起30日内进行。

